Este website
usa cookiesO nosso website usa cookies para ajudar a melhorar a sua experiência de utilização. Ao utilizar o website, confirma que aceita a sua utilização. Esperamos que esteja de acordo.
Não existe stock suficiente em Portugal para a quantidade selecionada.Artigos com origem internacional poderão demorar mais de 7 dias a serem entregues. Para estes artigos poderá activar "entrega urgente", mediante o pagamento de uma taxa de urgência.
Cancelar
Adicionar
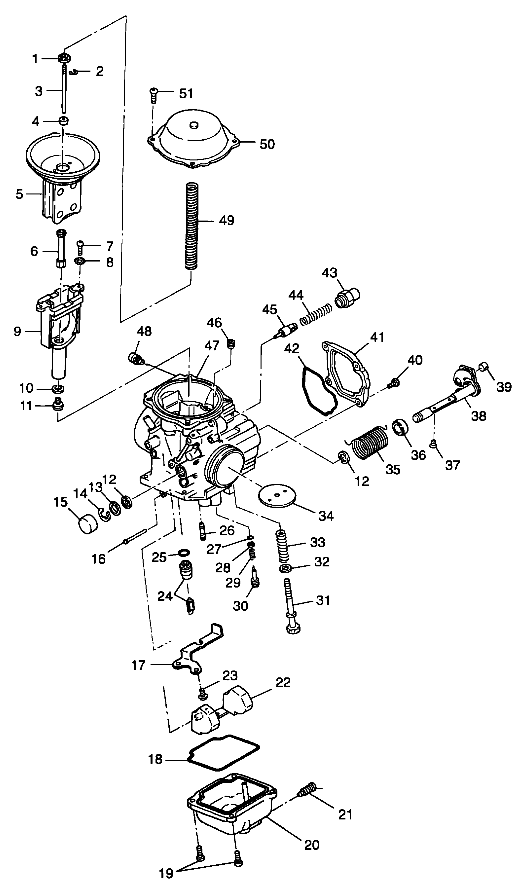
1
COIL,IGNITION (Incl. 1,2)
3085227
Faça login para consultar disponibilidade
408,54 €
Verificação de stock
COIL,IGNITION (Incl. 1,2)Ref. 12.3085227
Não existe stock suficiente em Portugal para a quantidade selecionada.Artigos com origem internacional poderão demorar mais de 7 dias a serem entregues. Para estes artigos poderá activar "entrega urgente", mediante o pagamento de uma taxa de urgência.
Cancelar
Adicionar
2
CAP, SPARKPLUG *
3084980
Faça login para consultar disponibilidade
124,52 €
Verificação de stock
CAP, SPARKPLUG * Ref. 12.3084980
Não existe stock suficiente em Portugal para a quantidade selecionada.Artigos com origem internacional poderão demorar mais de 7 dias a serem entregues. Para estes artigos poderá activar "entrega urgente", mediante o pagamento de uma taxa de urgência.
Cancelar
Adicionar
3
SPARKPLUG, BKR5E(4)
3070175
7,99 €
Verificação de stock
SPARKPLUG, BKR5E(4) Ref. 12.3070175
Não existe stock suficiente em Portugal para a quantidade selecionada.Artigos com origem internacional poderão demorar mais de 7 dias a serem entregues. Para estes artigos poderá activar "entrega urgente", mediante o pagamento de uma taxa de urgência.
Cancelar
Adicionar
4
O-RING
3084978
Faça login para consultar disponibilidade
59,71 €
Verificação de stock
O-RING Ref. 12.3084978
Não existe stock suficiente em Portugal para a quantidade selecionada.Artigos com origem internacional poderão demorar mais de 7 dias a serem entregues. Para estes artigos poderá activar "entrega urgente", mediante o pagamento de uma taxa de urgência.
Cancelar
Adicionar
5
BEARING, METAL
3084972
Faça login para consultar disponibilidade
39,81 €
Verificação de stock
BEARING, METAL Ref. 12.3084972
Não existe stock suficiente em Portugal para a quantidade selecionada.Artigos com origem internacional poderão demorar mais de 7 dias a serem entregues. Para estes artigos poderá activar "entrega urgente", mediante o pagamento de uma taxa de urgência.
Cancelar
Adicionar
6
PLATE ASM. Substituted by 3086820 (Incl. 5,6,8-12,14,15)
3085559
Faça login para consultar disponibilidade
804,08 €
Verificação de stock
PLATE ASM. Substituted by 3086820 (Incl. 5,6,8-12,14,15)Ref. 12.3085559
Não existe stock suficiente em Portugal para a quantidade selecionada.Artigos com origem internacional poderão demorar mais de 7 dias a serem entregues. Para estes artigos poderá activar "entrega urgente", mediante o pagamento de uma taxa de urgência.
Cancelar
Adicionar
6
PLATE
3085560
Faça login para consultar disponibilidade
239,16 €
Verificação de stock
PLATE Ref. 12.3085560
Não existe stock suficiente em Portugal para a quantidade selecionada.Artigos com origem internacional poderão demorar mais de 7 dias a serem entregues. Para estes artigos poderá activar "entrega urgente", mediante o pagamento de uma taxa de urgência.
Cancelar
Adicionar
7
BOLT&WASHER ASM.
3081657
Faça login para consultar disponibilidade
9,16 €
Verificação de stock
BOLT&WASHER ASM. Ref. 12.3081657
Não existe stock suficiente em Portugal para a quantidade selecionada.Artigos com origem internacional poderão demorar mais de 7 dias a serem entregues. Para estes artigos poderá activar "entrega urgente", mediante o pagamento de uma taxa de urgência.
Cancelar
Adicionar
8
SEAL, OIL
3084973
Faça login para consultar disponibilidade
46,44 €
Verificação de stock
SEAL, OIL Ref. 12.3084973
Não existe stock suficiente em Portugal para a quantidade selecionada.Artigos com origem internacional poderão demorar mais de 7 dias a serem entregues. Para estes artigos poderá activar "entrega urgente", mediante o pagamento de uma taxa de urgência.
Cancelar
Adicionar
9
STATOR Substituted by 3086821 (Incl. 13)
3085561
=
3086821
Faça login para consultar disponibilidade
858,12 €
Verificação de stock
STATOR Substituted by 3086821 (Incl. 13)Ref. 12.3086821
Não existe stock suficiente em Portugal para a quantidade selecionada.Artigos com origem internacional poderão demorar mais de 7 dias a serem entregues. Para estes artigos poderá activar "entrega urgente", mediante o pagamento de uma taxa de urgência.
Cancelar
Adicionar
10
SCREW&WASHER ASM.
3085563
Preço Sob Consulta
Verificação de stock
SCREW&WASHER ASM. Ref. 12.3085563
Não existe stock suficiente em Portugal para a quantidade selecionada.Artigos com origem internacional poderão demorar mais de 7 dias a serem entregues. Para estes artigos poderá activar "entrega urgente", mediante o pagamento de uma taxa de urgência.
Cancelar
Adicionar
11
BAND, PULSE
3085554
Faça login para consultar disponibilidade
19,04 €
Verificação de stock
BAND, PULSE Ref. 12.3085554
Não existe stock suficiente em Portugal para a quantidade selecionada.Artigos com origem internacional poderão demorar mais de 7 dias a serem entregues. Para estes artigos poderá activar "entrega urgente", mediante o pagamento de uma taxa de urgência.
Cancelar
Adicionar
12
SCREW&WASHER ASM.
3084976
Faça login para consultar disponibilidade
9,16 €
Verificação de stock
SCREW&WASHER ASM. Ref. 12.3084976
Não existe stock suficiente em Portugal para a quantidade selecionada.Artigos com origem internacional poderão demorar mais de 7 dias a serem entregues. Para estes artigos poderá activar "entrega urgente", mediante o pagamento de uma taxa de urgência.
Cancelar
Adicionar
13
COIL,PULSER
3085360
Faça login para consultar disponibilidade
194,91 €
Verificação de stock
COIL,PULSER Ref. 12.3085360
Não existe stock suficiente em Portugal para a quantidade selecionada.Artigos com origem internacional poderão demorar mais de 7 dias a serem entregues. Para estes artigos poderá activar "entrega urgente", mediante o pagamento de uma taxa de urgência.
Cancelar
Adicionar
14
CLAMP
3084977
Faça login para consultar disponibilidade
9,92 €
Verificação de stock
CLAMP Ref. 12.3084977
Não existe stock suficiente em Portugal para a quantidade selecionada.Artigos com origem internacional poderão demorar mais de 7 dias a serem entregues. Para estes artigos poderá activar "entrega urgente", mediante o pagamento de uma taxa de urgência.
Cancelar
Adicionar
15
SCREW&WASHER ASM(10)
3081256
Faça login para consultar disponibilidade
8,87 €
Verificação de stock
SCREW&WASHER ASM(10) Ref. 12.3081256
Não existe stock suficiente em Portugal para a quantidade selecionada.Artigos com origem internacional poderão demorar mais de 7 dias a serem entregues. Para estes artigos poderá activar "entrega urgente", mediante o pagamento de uma taxa de urgência.
Cancelar
Adicionar
16
CDI SYSTEM *
3085639
Faça login para consultar disponibilidade
646,90 €
Verificação de stock
CDI SYSTEM * Ref. 12.3085639
Não existe stock suficiente em Portugal para a quantidade selecionada.Artigos com origem internacional poderão demorar mais de 7 dias a serem entregues. Para estes artigos poderá activar "entrega urgente", mediante o pagamento de uma taxa de urgência.
Cancelar
Adicionar
17
NUT
3083073
Faça login para consultar disponibilidade
7,11 €
Verificação de stock
NUT Ref. 12.3083073
Não existe stock suficiente em Portugal para a quantidade selecionada.Artigos com origem internacional poderão demorar mais de 7 dias a serem entregues. Para estes artigos poderá activar "entrega urgente", mediante o pagamento de uma taxa de urgência.
Cancelar
Adicionar
18
WASHER SPRING(10)
3080077
7,11 €
Verificação de stock
WASHER SPRING(10) Ref. 12.3080077
Não existe stock suficiente em Portugal para a quantidade selecionada.Artigos com origem internacional poderão demorar mais de 7 dias a serem entregues. Para estes artigos poderá activar "entrega urgente", mediante o pagamento de uma taxa de urgência.
Cancelar
Adicionar
19
SWITCH,MAGNETIC *
3085521
=
4011335
Faça login para consultar disponibilidade
84,90 €
Verificação de stock
SWITCH,MAGNETIC * Ref. 12.4011335
Não existe stock suficiente em Portugal para a quantidade selecionada.Artigos com origem internacional poderão demorar mais de 7 dias a serem entregues. Para estes artigos poderá activar "entrega urgente", mediante o pagamento de uma taxa de urgência.
Cancelar
Adicionar
20
FLYWHEEL,W/RING GEAR Substituted by 3086819
3085558
=
3086819
Faça login para consultar disponibilidade
526,01 €
Verificação de stock
FLYWHEEL,W/RING GEAR Substituted by 3086819 Ref. 12.3086819
Não existe stock suficiente em Portugal para a quantidade selecionada.Artigos com origem internacional poderão demorar mais de 7 dias a serem entregues. Para estes artigos poderá activar "entrega urgente", mediante o pagamento de uma taxa de urgência.